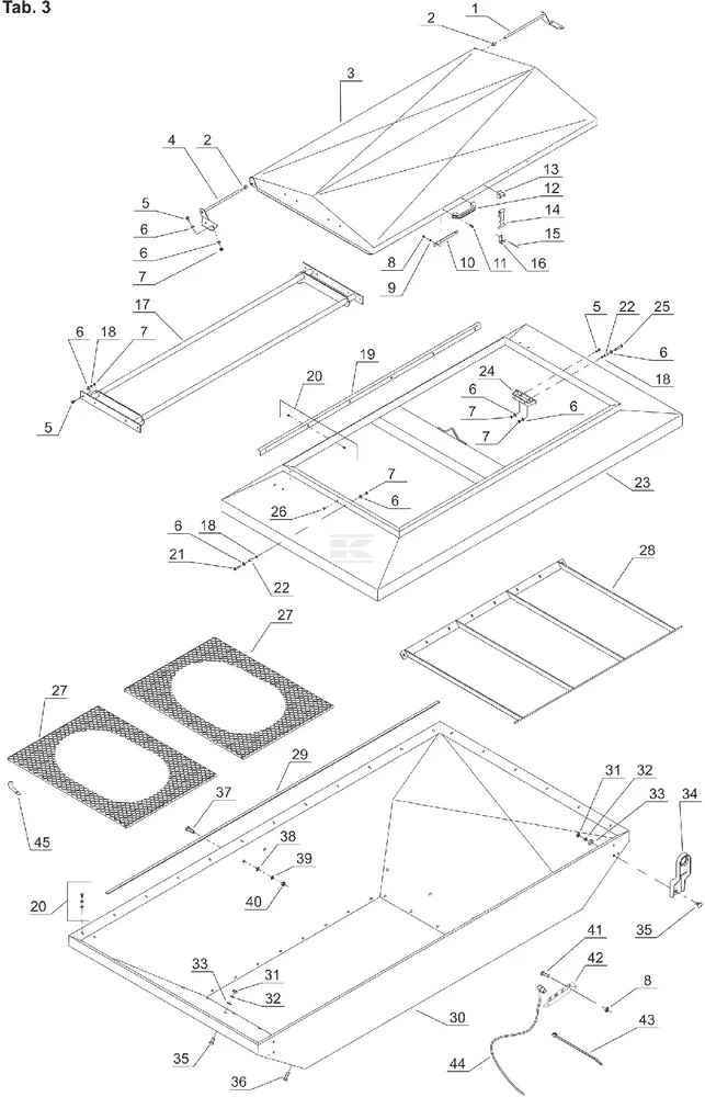
03 Násypka pro semeno
|
Výrobek
|
Jednotka
|
Určeno pro |
Info |
Pozice |
|---|---|---|---|---|
| Kongskilde 393392 Pojistná matice |
Kus |
Typ Fe/Zn5
|
M6, Din 985, Qty. 3
|
Fig.3A Pos. 08
|
| Kongskilde 7009603765 Snímač |
Kus |
|
Qty. 1
|
Fig.3A Pos. 44
|
Nejprodávanější
Stránka 1 z 1 -
1 položek celkem
Řazení produktů
Výpis produktů
Ovládací prvky výpisu
1 položek celkem


