14 Motor
|
Výrobek
|
Jednotka
|
Info |
Pozice |
|---|---|---|---|
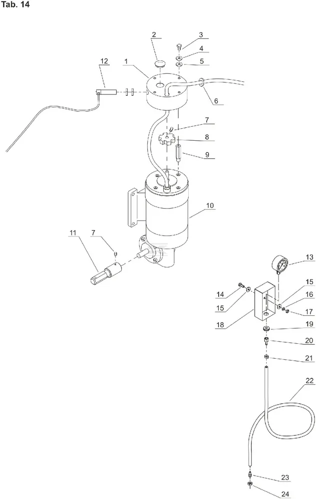
| ET MA4010L02ST Manometr O40 0-10barů ⅛" dole |
Kus |
0–100 bar, Qty. 1
|
Fig.14A Pos. 13
|
Nejprodávanější
Stránka 1 z 1 -
1 položek celkem
Řazení produktů
Výpis produktů
Ovládací prvky výpisu
1 položek celkem


